Y型过滤器
- 销售:
- 销售:
- 传真:
详情介绍
- 产品介绍
- 服务承诺
- 订货流程
Y型过滤器是输送介质的管道系列不可缺少的一种装置,通常安装在减压阀、泄压阀、定水位阀或其它设备的进口端,用来消除介质中的杂质,以保护阀门及设备的正常使用。该过滤器具有结构先进,阻力小,排污方便等特点。
适用介质可为水,油、气。可按用户要求制作滤网,其外型基本相同(Y型),内部件全部采用不锈钢,坚固耐用。当需要清洗时,只要将可拆卸的滤筒取出,去除滤出的杂质后,重新装入即可,使用维护为方便。
该过滤器体形小、滤眼细、阻力小、效果高、安装检修方便、成本低、并排污时间短,对一般小型号者,只需5-10分钟。一般通水网为18-30目/cm2,通气网为40-100目/cm2,通油网为100-300目/cm2。
主要技术参数
壳体材质 | 黄铜 | 碳钢 | 不锈钢 |
公称通径 | 15~500mm | ||
滤框滤网材质 | 不锈钢 | ||
密封件材质 | 耐油石棉、丁腈橡胶、聚四氟乙烯 | ||
工作温度(℃) | -30~380 | -80~425 | -80~450 |
公称压力(MPa) | 1.6~10(150Lb~600Lb) | ||
过滤精度(目/in) | 10~300 | ||

拉杆伸缩过滤器

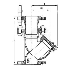
1.阀体 2. 滤芯网 3.密封件 4.滤网盖

主要外形尺寸
DN | "英寸 | L | H | H1 | 拉杆伸缩过滤器 | 参考重量kg | |
15 | 1/2 | 125 | 70 | 150 | L | H | 2 |
20 | 3/4 | 145 | 70 | 150 | 3 | ||
25 | 1 | 160 | 80 | 160 | 3.8 | ||
32 | 1 1/4 | 180 | 90 | 180 | 6 | ||
40 | 1 1/2 | 200 | 100 | 240 | 7.2 | ||
50 | 2 | 220 | 130 | 250 | 300 | 130 | 10 |
65 | 2 1/2 | 260 | 165 | 350 | 350 | 165 | 17 |
80 | 3 | 280 | 195 | 390 | 400 | 195 | 20 |
100 | 4 | 320 | 230 | 450 | 450 | 230 | 32 |
125 | 5 | 350 | 300 | 520 | 500 | 300 | 53 |
150 | 6 | 380 | 335 | 580 | 550 | 335 | 66 |
200 | 8 | 495 | 420 | 690 | 650 | 420 | 110 |
250 | 10 | 595 | 500 | 800 | 775 | 500 | 165 |
300 | 12 | 640 | 580 | 950 | 900 | 580 | 225 |
350 | 14 | 700 | 640 | 1150 | 312 | ||
400 | 16 | 800 | 700 | 1360 | 500 | ||
450 | 18 | 850 | 790 | 1480 | 700 | ||
500 | 20 | 900 | 875 | 1650 | 900 | ||
良好的品质、优良的服务 bat·365(中国)正版唯一官网为你创造更多价值!
“bat·365(中国)正版唯一官网”的期望,不断提升服务质量,精益求精,“真诚的服务”是“bat·365(中国)正版唯一官网”永恒的主题。“bat·365(中国)正版唯一官网”严格按照IS09001-2000 质量体系认证要求,质量严格把关, 责任到人,确保生产、销售、服务的健康运行。加强与用户沟通,竭诚为广大客户提供优良产品,至善至美服务。特此我厂做出以下承诺:
产品标准:
产品严格按照中国GB、HG 标准和美国API等标准设计、制造、验收。密封面硬度达到国家规定要求,宽度超过国家标准。
售前服务:
产品介绍,技术交流,非标产品设计,疑难解答。
售中服务:
守信合同,保证及时供货,随时保持与客户联系。 对特殊或复制的产品,我厂安排技术人员对用户进行产品使用、故障排除
售后服务:
1、“bat·365(中国)正版唯一官网”牌产品品质期为自出厂起12个月,实行“三包”服务(包退、包换、保修)。
2、产品在使用中我厂定期组织技术、质检人员进行访问,征询用户对产品质量、 使用状况、改进意见等方面的反馈, 以便进一步提高产品质量。
3、对用户投诉质量问题,快速作出反应,售后服务人员在24-36小时(省外48小时)赶赴现场。
4、对售后服务,要求用户填写服务后的质量反馈信息表,并作出鉴定意见,以便提高bat·365(中国)正版唯一官网的服务质量。
1、客户如对产品有特殊要求,须在订货合同中提供以下说明:
a、结构长度;
b、连接形式;
c、公称直径、全通径、缩径、管道尺寸;
d、运行介质及温度、压力范围;
e、试验、检验标准及其他要求
2、本厂可根据客户特定要求配置各类驱动装置。
3、如由客户提供确定的阀门类型和型号时,客户应正确说明其型号的含义和要求,在供需双方理解一致的条件下签订合同。
4、期货、订货的客户请先来电函详细告诉所需的阀门型号、规格、数量以及交货时间、地点,并按总的30%预定金或全额货款及时汇入我厂帐户,其余货款待发货前汇入,以便及时安排发货。
订单流程:
1、客户采购清单传真至,或来电咨询
2、收到客户采购清单,为客户提供阀门型号选型与报价(价格清单)。
3、具体商定:交货期、特殊要求等事宜。
订货须知:
1、客户如对产品有特殊要求,须在订货合同中提供以下说明:
|
|||||
|
|||||
2、本厂可根据客户特定要求配置各类驱动装置。
|
|||||
3、如由客户提供确定的阀门类型和型号时,客户应正确说明其型号的含义和要求,在供需双方理解一致的条件下签订合同。
|
|||||
4、期货、订货的客户请先来电函详细告诉所需的阀门型号、规格、数量以及交货时间、地点,并按总的30%预定金或全额货款及时汇入我厂账户, 其余货款待发货前汇入,以便及时安排发货。
|
售中服务:
守信合同,保证及时供货,随时保持与客户联系。
对特殊或复制的产品,我厂安排技术人员对用户进行产品使用、故障排除
售后服务:
1、“bat·365(中国)正版唯一官网”产品品质期为自出厂起12个月,实行“三包”服务(包退、包换、保修)。
2、产品在使用中我厂定期组织技术、质检人员进行访问,征询用户对产品质量、使用状况、改进意见等方面的反馈,
以便进一步提高产品质量。
3、对用户投诉质量问题,快速作出反应,售后服务人员在24-36小时(省外48小时)赶赴现场。
4、对售后服务,要求用户填写服务后的质量反馈信息表,并作出鉴定意见,以便提高“bat·365(中国)正版唯一官网”的服务质量。
声明 |
|